
本方法適用新型涉及蝶閥技術領域,具體為一種新型氣動式蝶閥。
背景技術:
氣動蝶閥是由氣動執行器和蝶閥組成,氣動蝶閥是用隨閥桿轉動的圓形蝶板做啟閉性,以實現啟用動作的氣動閥門,主要做截斷閥使用,亦可設計成具有調節或段閥兼調節的功能,目前蝶閥在低壓大中口徑管道上的使用越來越多,氣動蝶閥分類:不銹鋼氣動蝶閥,硬密封氣動蝶閥,軟密封氣動蝶閥,碳鋼氣動蝶閥。
1、現有的氣動式蝶閥通常通過法蘭進行固定,當需要對蝶閥進行拆卸維修時,將法蘭上的螺栓拆下,即可將蝶閥拆卸,但是蝶閥通常設置在潮濕的環境中,長時間會對螺栓和法蘭造成腐蝕,影響拆卸,導致蝶閥不能順利拆開進行維護;
2、現有的氣動式蝶閥的閥桿在工作中由于自身頻繁轉動,導致閥桿與閥體之間容易發生偏離,造成蝶板開啟容易卡死,影響蝶閥的使用壽命。
技術實現要素:
(一)解決的技術問題
針對現有技術的不足,本實用新型提供了一種新型氣動式蝶閥,解決了現有的氣動式蝶閥廠家的法蘭和螺栓容易受到腐蝕影響其拆卸的問題。
(二)技術方案
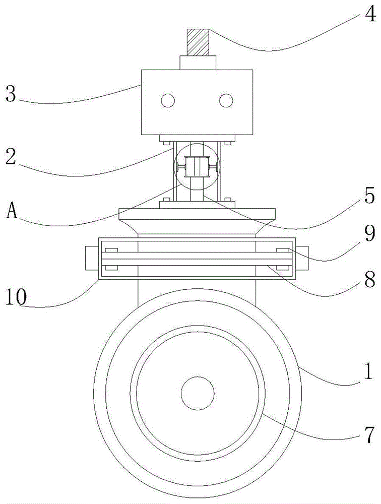
為實現上述目的,本實用新型提供如下技術方案:一種新型氣動式蝶閥,包括蝶閥本體、閥體、氣動執行器、旋轉開關、閥桿、夾持裝置、蝶板、法蘭、螺栓和防腐蝕裝置,所述閥體固定安裝在蝶閥本體的上端,所述氣動執行器固定安裝在閥體的上端,所述旋轉開關轉動連接在氣動執行器的上端,所述閥桿固定安裝在旋轉開關的下端,所述夾持裝置套設在閥桿的外表面,所述蝶板固定安裝在閥桿的下端,所述法蘭固定連接在蝶閥本體和閥體之間,所述螺栓貫穿設置在法蘭之間,所述防腐蝕裝置套設在法蘭的外表面。
所述防腐蝕裝置包括第一外殼,所述第一外殼的前端固定安裝有第二外殼,所述第一外殼和第二外殼之間貫穿設置有插桿,所述插桿上端的內部固定安裝有彈簧,所述彈簧的一端固定安裝有推桿,所述推桿的一端固定安裝有卡塊,所述第一外殼和第二外殼的內側均開設有通槽。
1、作為本實用新型的一種優選技術方案,所述夾持裝置包括連接桿,所述連接桿的一端固定安裝有金屬套環,所述金屬套環的內側涂有耐磨層。
2、作為本實用新型的一種優選技術方案,所述耐磨層為耐磨陶瓷涂料,所述金屬套環為鋼材質。
3、作為本實用新型的一種優選技術方案,所述第一外殼的兩側均開設有插槽,所述插桿的形狀大小與插槽之間相適配。