
本實用新型涉及一種蝶閥,具體涉及一種在閥板上安裝墊片的蝶閥,屬于蝶閥技術領域。
背景技術:
蝶閥是用圓盤式啟閉件往復回轉90°左右來開啟、關閉或調節介質流量的一種閥門。蝶閥不僅結構簡單、體積小、重量輕、材料耗用省、安裝尺寸小、驅動力矩小、操作簡便、迅速,并且還可以同時具有良好的流量調節功能和關閉密封特性,是近十幾年來發展最快的閥門品種之一。
由于開啟、關閉的方式來輸送流量,在開啟的狀態下,蝶閥中的閥板為打開狀態,但是氣體的沖擊力可能會使閥板來回晃動,更有可能導致關閉閥板,造成氣體輸送不順暢的問題。
技術實現要素:
本實用新型的目的是提供一種閥板不會晃動的高性能蝶閥,可以在開啟的狀態下順利輸送氣體。
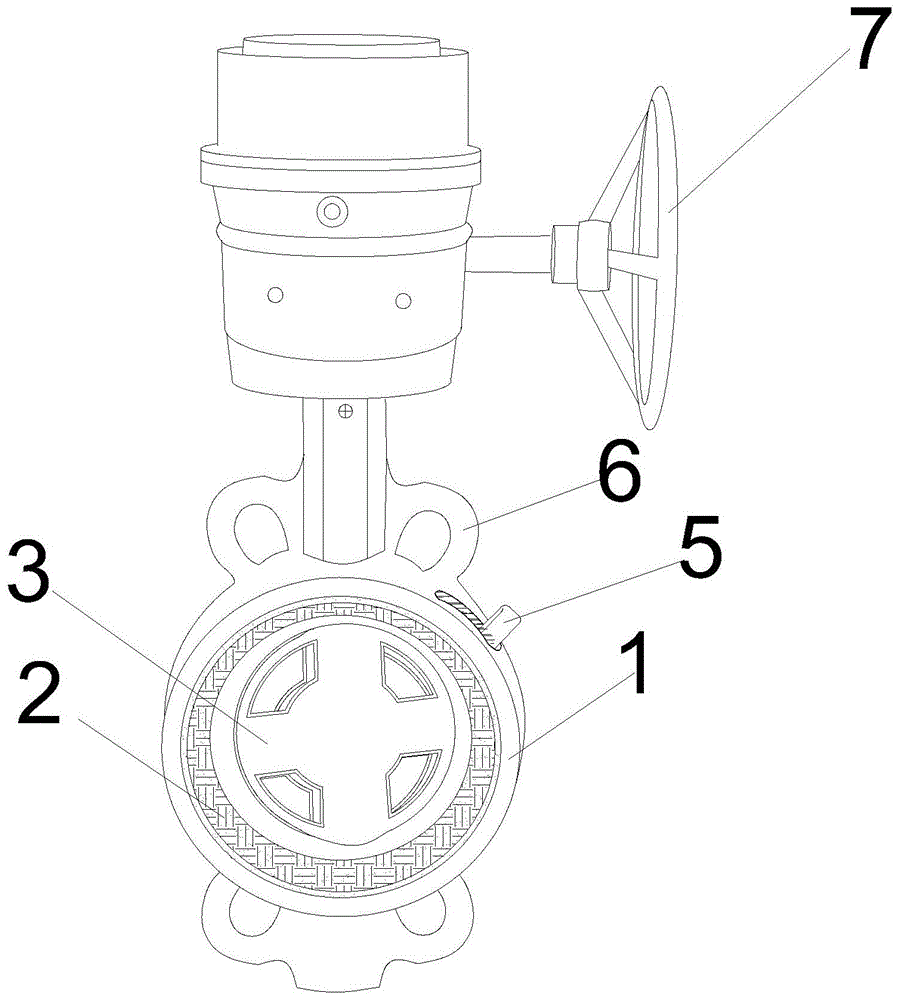
為了達到上述技術目的,本實用新型的技術方案是提供了高性能蝶閥,包括閥體、閥座、閥板,所述閥體為環狀,所述閥體內套設有閥座,所述閥板通過閥桿活動的設于閥座內,所述閥板上設有鏤空的孔洞,所述閥板的一側設有墊片,所述墊片上設有與閥板對應的孔洞。
優選地,所述墊片活動的設置在閥板上,通過墊片把手在閥板上旋轉。