
本發明創造屬于閥門技術領域,尤其是涉及一種分段式船用閥門。
背景技術:
調壓閥是一種通過控制內部啟閉件的開度來調節介質的流量,通過調節流量來將介質的壓力降低,同時借助閥后壓力的作用調節啟閉件的開度,使閥后壓力保持在一定范圍內,在進口壓力不斷變化的情況下,保持出口壓力在一個較小范圍內波動的閥門,通常管道中都需要安裝調壓閥來泄壓以保護管道和設備不被高壓損壞,調壓閥廣泛用于高層建筑、城市給水管網水壓過高的區域、礦井及輸送天然氣管道等場合,以保證獲得適量的介質流量和壓力,為了操作和維護方便,調壓閥一般直立安裝在水平管道上,安裝時應注意使管路中介質的流向與閥體上所示箭頭的方向一致,現有的調壓閥多為兩段式,加工不便,且蝸桿向里旋進時內腔的壓力會逐漸增大,導致閥桿難以繼續向里。
技術實現要素:
有鑒于此,本發明創造旨在提出一種大中型三段式調壓閥門,能消除因內外壓力不同造成閥門推桿的變形,且所述三段式閥門加工制造容易,成本低。
為達到上述目的,本發明創造的技術方案是這樣實現的:
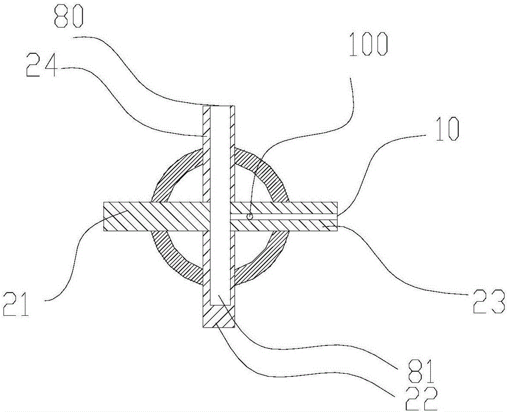
一種三段式調壓閥門,包括閥首、閥體和閥尾,所述閥首、閥體和閥尾依次連接,所述閥首和閥尾自由端設有與管道配合的法蘭結構,所述閥體上部為一凸臺,凸臺上安裝調壓閥電動執行器,所述閥體內部設有四個肋板,呈90度角環列,所述第四肋板開有通孔,第二肋板設有盲孔,第四肋板通孔與第二肋板盲孔相通,孔內設有推桿,所述第一肋板設有中腔倒流孔,用作平衡推桿所在腔體與外界的壓力,所述四個肋板與閥體內腔相接,四個肋板間隙形成流體通道,四個肋板中心設有閥桿腔體,閥桿腔體軸線與四個肋板所在平面垂直,所述閥體的閥首端設有導流罩,導流罩防止流體流入閥桿腔內,所述閥桿腔體內設有閥桿,所述閥桿與推桿為蝸輪蝸桿式連接,所述推桿外端與調壓閥電動執行器相接,所述閥桿自由端與閥芯連接,閥尾內設有套筒結構件,閥芯設置與套筒內且與套筒緊密且無縫隙配合用于調節流量,所述套筒為有孔網結構件,所述閥芯為空心柱體結構件。
進一步的,所述第一肋板上也設有中腔倒流孔,與第三肋板上的中腔倒流孔共同平衡推桿所在腔體與外界的壓力。
進一步的,所述套筒包括內套筒和外套筒,內套筒置于外套筒內,內套筒與外套筒間有空隙。
進一步的,所述套筒里端與閥座相抵接,套筒外端設有止動套,止動套將套筒限制于閥尾內。
進一步的,所述閥體中部實體部設有連接閥芯內與第四肋板通孔相通的中腔倒流孔,所述閥座腔倒流孔與中腔倒流孔互通,使閥桿、推桿均處于與外界壓力平衡狀態下,避免因閥座內密封造成的調節費力的問題。
進一步的,閥首和閥體、閥尾和閥體之間使用栽絲裝配。
進一步的,所述調壓閥電動執行器與閥體之間用O型密封圈加以密封,防止天然氣泄漏,所述閥桿與導套、導套與閥體、導套與導流罩之間均安裝有平衡密封圈,止動套與外套筒的連接處安裝平衡密封圈,止動套與內套筒的連接處安裝有密封墊與平衡密封圈,閥芯與閥體的端面之間使用平衡密封圈。
相對于現有技術,本發明創造所述的三段式調壓閥具有以下優勢:
本發明創造能夠有效平衡閥桿、推桿與外界的壓力,防止調節過程中出現的費力甚至結構件變形的缺陷,同時三段式的結構易于制造加工,裝配簡單,成本低。
附圖說明
構成本發明創造的一部分的附圖用來提供對本發明創造的進一步理解,本發明創造的示意性實施例及其說明用于解釋本發明創造,并不構成對本發明創造的不當限定。在附圖中:
圖1為本發明創造實施例所述的閥門體主剖視圖;
圖2為本發明創造實施例所述的肋板示意圖;
圖3為本發明創造實施例所述的閥門體俯剖視圖;
圖4為本發明創造實施例所述的流道示意圖。
附圖標記說明:
1-閥首;2-閥體;21-第一肋板;22-第二肋板;23-第三肋板;24-第四肋板;3-閥尾;4-閥桿;405-閥芯;5-內套筒;6-外套筒;56-止動套;7-調壓閥電動執行器;8-推桿;80-第四肋板通孔;81-第二肋板盲孔;9-導流罩;10-中腔倒流孔;100-閥座腔倒流孔。
具體實施方式
需要說明的是,在不沖突的情況下,本發明創造中的實施例及實施例中的特征可以相互組合。
在本發明創造的描述中,需要理解的是,術語“中心”、“縱向”、“橫向”、“上”、“下”、“前”、“后”、“左”、“右”、“豎直”、“水平”、“頂”、“底”、“內”、“外”等指示的方位或位置關系為基于附圖所示的方位或位置關系,僅是為了便于描述本發明創造和簡化描述,而不是指示或暗示所指的裝置或元件必須具有特定的方位、以特定的方位構造和操作,因此不能理解為對本發明創造的限制。此外,術語“第一”、“第二”等僅用于描述目的,而不能理解為指示或暗示相對重要性或者隱含指明所指示的技術特征的數量。由此,限定有“第一”、“第二”等的特征可以明示或者隱含地包括一個或者更多個該特征。在本發明創造的描述中,除非另有說明,“多個”的含義是兩個或兩個以上。
在本發明創造的描述中,需要說明的是,除非另有明確的規定和限定,術語“安裝”、“相連”、“連接”應做廣義理解,例如,可以是固定連接,也可以是可拆卸連接,或一體地連接;可以是機械連接,也可以是電連接;可以是直接相連,也可以通過中間媒介間接相連,可以是兩個元件內部的連通。對于本領域的普通技術人員而言,可以通過具體情況理解上述術語在本發明創造中的具體含義。
下面將參考附圖并結合實施例來詳細說明本發明創造。
如圖1、2、3所示,一種三段式調壓閥門,包括閥首1、閥體2和閥尾3,所述閥首1、閥體2和閥尾3依次連接,所述閥首1和閥尾3自由端設有與管道配合的法蘭結構,所述閥體2上部為一凸臺,凸臺上安裝調壓閥電動執行器7,所述閥體2內部設有四個肋板,呈90度角環列,所述第四肋板24開有通孔,第二肋板22設有盲孔,第四肋板通孔80與第二肋板盲孔81相通,孔內設有推桿8,所述第三肋板23設有中腔倒流孔10,用作平衡推桿8所在腔體與外界的壓力,所述四個肋板與閥體2內腔相接,四個肋板間隙形成流體通道,四個肋板中心設有閥桿腔體,閥桿腔體軸線與四個肋板所在平面垂直,所述閥體2的閥首1端設有導流罩9,導流罩9防止流體流入閥桿腔內,所述閥桿腔體內設有閥桿4,所述閥桿4與推桿8為蝸輪蝸桿式連接,所述推桿8外端與調壓閥電動執行器7相接,所述閥桿4自由端與閥芯405連接,閥尾3內設有套筒結構件,閥芯405設置與套筒內且與套筒緊密且無縫隙配合用于調節流量,所述套筒為有孔網結構件,所述閥芯405為空心柱體結構件。
最佳的,所述閥體2中部實體部設有連接閥芯405內與第四肋板通孔80相通的閥座腔倒流孔100,所述閥座腔倒流孔100與中腔倒流孔10互通,使閥桿4、推桿8均處于與外界壓力平衡狀態下,避免因閥體2內密封造成的調節費力的問題;所述第一肋板21上也設有中腔倒流孔10,與第三肋板23上的中腔倒流孔10共同平衡推桿8所在腔體與外界的壓力,圖中未示。
最佳的,所述套筒包括內套筒5和外套筒6,內套筒5置于外套筒6內,內套筒5與外套筒6間有空隙。
最佳的,所述套筒里端與閥座1相抵接,套筒外端設有止動套56,止動套56將套筒限制于閥尾3內。
最佳的,閥首1和閥體2、閥尾3和閥體1之間使用栽絲裝配。
最佳的,所述調壓閥電動執行器7與閥體2之間用O型密封圈加以密封,防止天然氣泄漏,所述閥桿4與閥桿腔體、閥桿腔體與導流罩9之間均安裝有平衡密封圈,止動套56與外套筒6、內套筒5的連接處安裝平衡密封圈,閥芯405與閥體2的端面之間使用平衡密封圈。
所述發明創造的工作原理:將閥首1、閥尾3分別與閥體2兩端栽絲配合或在不受干涉的情況下用螺栓固定連接,將閥首1的外端、閥尾3的外端分別與管道相連接,如圖4所示,流體的流動方向如圖中箭頭所示,流體從閥首1端流入,經過四個肋板間的流體通道流向閥尾3,在經過套筒結構流出,調節閥芯405與套筒的接觸面積,從而使流體經過未與閥芯405緊密配合的部分套筒網孔,進而實現流體壓力的調節;閥體2上的閥座腔倒流孔100與中腔倒流孔10能夠平衡閥桿4和推桿8與外界的壓力,使其在平衡的壓力下輕松調節推桿8,不至于費力且造成推桿8的變形。
以上所述僅為本發明創造的較佳實施例而已,并不用以限制本發明創造,凡在本發明創造的精神和原則之內,所作的任何修改、等同替換、改進等,均應包含在本發明創造的保護范圍之內。